ADL 611CD称重传感器
上一个:ADL 611NP称重传感器 下一个:ADL638称重传感器
详情介绍

产品介绍

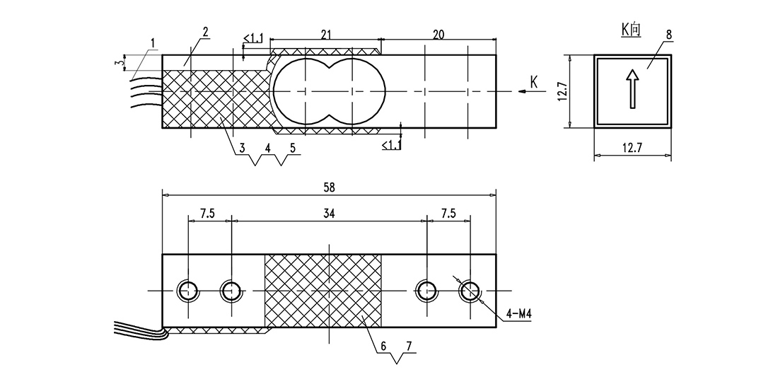
  • 艾德力ADL611CD称重传感器,铝合金结构、精度高、安装方便、长期稳定性好,结构紧密。可广泛用于吊钩秤,吊秤,各类工业自动化设备,测试设备等。

  • 产品规格书

  • 量程:1--50kg

  • 输出灵敏度:1.0±0.15mV/V

  • 非线性:0.05%F.S

  • 滞后:0.05%F.S

  • 重复性:0.05%F.S

  • 蠕变:0.05%F.S/3min

  • 零点输出:±0.1mV/V

  • 输出阻抗:1000±10欧姆 输入阻抗:1050±100欧姆

  • 使用温度:-10--- +40°C

  • 接线方式:红(电源正)、黑(电源负)、绿(信号正)、白(信号负)

  • 零点温度漂移:0.05%F.S/10°C

  • 温度灵敏度漂移:0.05%F.S/10°C

  • 绝缘电阻:≥2000MΩ

  • 激励电压:3--10VDC

  • 极限过载:150%F.S

  • 四角误差:±5μV

  • 综合精度:0.05%F.S

  • 东莞市艾德力电测技术有限公司 版权所有